鹏鲲 · 鹏胜
十项设备专利两大商标
鹏鲲首页
产品中心
案例中心
喷涂方案
设计图纸
鹏鲲资讯
关于鹏鲲
联系鹏鲲
400-088-0769
热搜关键词:
转盘喷砂机
自动喷涂设备
喷涂设备
喷涂设备厂家
您当前的位置:
首页
>
资质荣誉
>
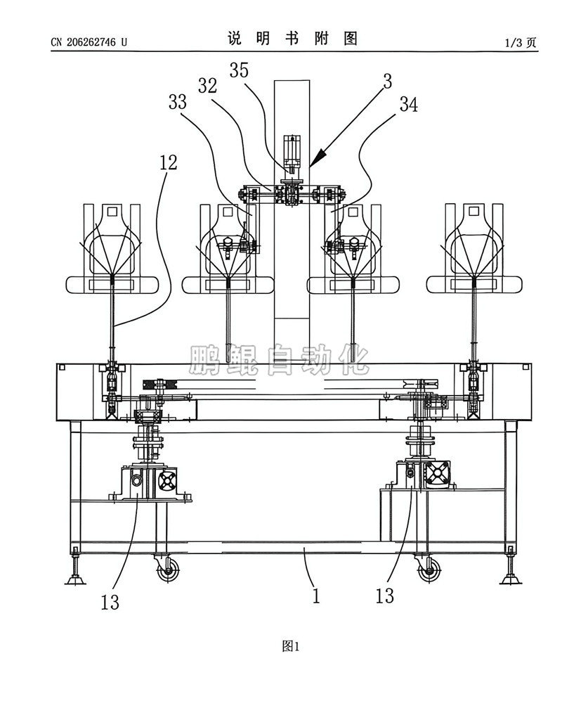
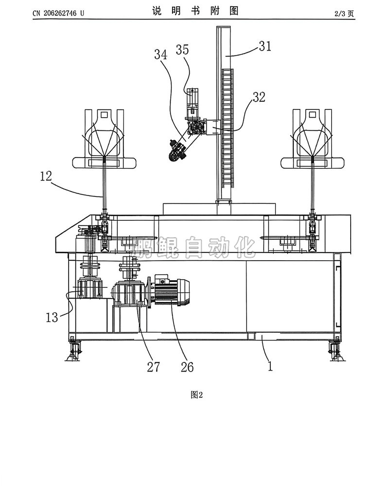
2枪4轴环行线
走进鹏鲲
资质荣誉
员工风采
联系鹏鲲
在线留言
电话咨询
400-088-0769
QQ咨询
461639106
微信咨询